提高水介質壓力表檢定臺使用效率的新舉措
本文介紹了如何改進水介質壓力表檢定臺裝置,使其效率顯著提高,由一次只能檢定一塊壓力表提高到一次檢定數塊。
引言
在工業生產、國防建設、日常生活與醫療衛生等領域中,壓力是一個非 常重要的參數。壓力儀器儀表對生產或試驗過程進行顯示、記錄、監控、 調節,以保證產品的質量和為生產提供安全保證。在一個中小型的機械加工 企業中,用于進行焊接和切割的壓力表的數量就達到千臺。對于壓力表,根據 國家和行業的有關規定,安裝在現場的必須進行校準,以判斷滿足技術指標要 求后才可使用。
1.壓力表檢定臺工作琢理
壓力表校準要使用壓力表檢定臺,現在普通使用的氧氣表、丙烷表等禁 油表,用水介質的檢定臺更合理,其結構原理如圖1所示,圖中1為標準壓力 表,2、8為壓力表接頭,3、9為針闊,4為水管路,5為加壓閥,6為手輪,7為 被校壓力表,10為水箱閥,11為水箱。
水箱內提供壓力傳遞用的介質一純凈水或蒸餾水,兩個壓力表接頭分別安 裝被校壓力表和標準壓力表。壓力表校驗臺采用帕斯卡液壓傳遞原理,用加 壓泵控制液壓的升降,水管路內的壓力保持均勻,相同的壓力分別傳遞到被校 壓力表和標準壓力表,從而使兩塊表分別指示出管路的壓力,標準壓力表指示 值作為標準值,被校壓力表的指示值作為測量值,計算出各檢定點的誤差,判斷 其是否超差。
2.原檢定臺存在的缺點
從壓力表臺的結構原理圖1可以看出,每次操作只能校準一塊壓力表,加 上壓力表的計量檢定點要求為五點。對于各點還要進行輕敲位移檢測,造成 每塊壓力表的檢定從安裝到拆除,需要近三十分鐘的時間。由此推算,校準一 千塊壓力表需要的時間為五百個小時,折合工作日為兩個月,這個時間會對正 常的生產造成影響。
3.改進的舉播
從上面的分析可以看出,每次增減壓過程只能校準一塊壓力表,造成重復 操作多。根據帕斯卡液壓傳遞原理,管路中各點的壓力是一致的,如果將這個 壓力引出來,增加被校壓力表的數量,就可以達到一次升降檢定多個壓力表的 目的,所以需要在原來壓力表校驗臺上稍加改進,增加一個延伸裝置,提高被校 壓力表一次安裝的數量。
延伸裝置的結構見圖2,圖中1、3、7為壓力表接頭,2為截止閥,4為水 箱閥,5為水箱,6為截止閥。8為引壓三通。
為了能夠對特殊的儀表(同量程或接近的壓力表)在不拆卸延伸部分情況 下持續校驗,安裝了截止閥2,用于切斷介質進入到后面部分。
為了確保延伸部分的強度和密封性,連接部位采用焊接,并經過試壓(檢定 臺操作上限的1. 5倍壓力)后才可以投入使用。
對由于管路和壓力表彈簧管增加造成的介質水增多,在盡可能減少管路內 徑的情況下,在延伸部分設置一個輔助水箱,以進行補充。
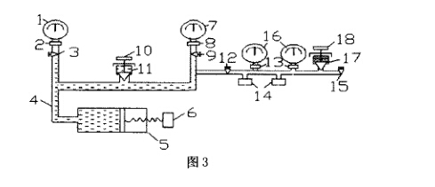
截止閥6用于對其他延伸部分的再連接。加入延伸部分后的整體外形如 圖3所示,圖中1為標準壓力表,2、8、13、14為壓力表接頭,3、9、12、 15為截止閥,7、16為被校壓力表,4為水管路,5為加壓泵,6為手輪,10、18 為水箱閥,11為主水箱,17為輔助水箱。
5.改進后的搡作
增加延伸部分后,操作與增加前相比,略有不同,
首先關閉截止閥3和9,打開水箱閥10,緩慢向外旋轉加壓泵手輪6,將水 箱內的水抽到增壓泵和管路中,關閉水箱閥10,打開截止閥3,緩慢向內旋手輪 6,直到壓力表接頭2中水出現為止,關閉截止閥9,打幵截止閥12,同時打開輔 助水箱閥18,檢查延伸部分各壓力表接頭處出現水時,安裝各點的壓力表,包 括標準壓力表和被校壓力表,最后關閉輔助水箱閥,打開截止閥3、9.開始加 壓 0
6.產生的效益
安裝延伸裝置后,檢定效率得到明顯提高,通過對現有裝置壓力表的檢定 實驗,效率提高了兩倍,同時由于增減壓力操作次數的降低,壓力檢定本身的故 障率也降低了。


