氣缸壓力表在發動機故障診斷中的應用
現代汽車的技術性能已變得越 來越高端,其結構也變得越來越復 雜,故障診斷的難度也有了相應的 增加。借助一些儀器或設備來診斷 汽車故障已是現代汽車維修過程中 一個必不可少的環節和手段。利用 氣缸壓力表對發動機氣缸壓縮壓力 進行檢測,并通過其數值對發動機 故障進行分析和診斷就是一種行之 有效的方法。
在不解體的條件下,檢測氣缸 密封性的常用方法有:測量氣缸壓縮 壓力;測量曲軸箱竄氣量;測量氣缸 漏氣量或氣缸漏氣率;測量進氣管負 壓等。通過檢測氣&壓力,可以了解 氣缸的密封性能與發動機的工作狀 況。用氣缸壓力表檢測氣缸壓縮壓力 具有價格低廉、儀表輕巧、實用性強 和檢測方便等優點,因而在汽車維修行業中應用十分廣泛。
一、氣缸壓力表的結構及正確使 用
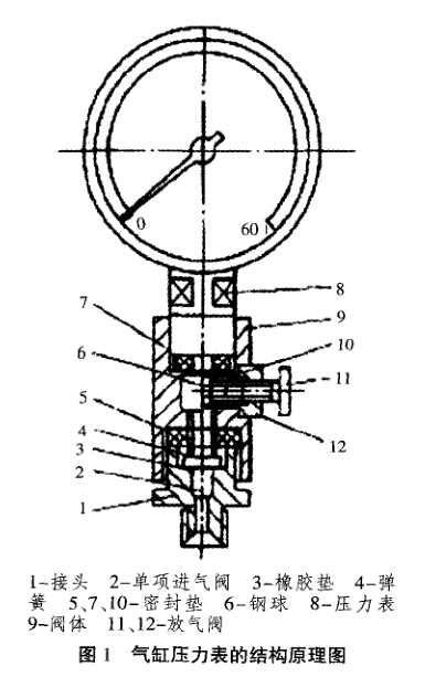
1.氣缸壓力表的結構
氣缸壓力表總成由0~5.88MPa量程的壓力表、連接軟管、單項進氣 閥和適用于各種機型的可換接頭等 組成。其上有放氣閥,以便使指針回 位到“0”。其結構如圖1所示。
2.氣缸壓力表的使用
氣缸壓力表按接口形式分為推 入式和螺紋接口式2種。推入式氣缸 壓力表用于汽油發動機,螺紋接口式 氣缸壓力表用于柴油發動機。柴油機 壓縮力大,必須將壓力表頭嚴密地緊 固在噴油器孔上才能測量。汽油機壓 縮力比較小,可用手握住壓力表,直 接頂在火花塞孔上進行測量。
二、氣缸壓力的檢測方法
1.檢測條件
發動機使用說明書中所給的該 型發動機的氣缸壓力值,是在特定條 件下得到的。因此,在使用氣缸壓力 表檢測氣缸壓力時,必須滿足相應的檢測條件。
在用氣缸壓力表測試氣缸壓力 時,為使發動機的曲軸轉速更接近要 求轉速,應采用存電充足的蓄電池驅 動起動機。最好用轉速表監測曲軸轉 速,以做到心中有數。測試前,起動發 動機并讓其運轉一段時間,進行預 熱,使水溫升至TSAOT,機油壓力 達到正常值后,再熄火進行測試。因 為氣缸的潤滑狀況對氣缸壓力的影 響僅次于曲軸轉速,而氣缸的潤滑狀 況又與機油溫度密切相關。測量時發 動機的各種狀態越接近實際工況,測 量的結果越準確。對測得結果,還須 結合使用與維修情況進行具體分析, 以得出正確的結論。
2.檢測方法
發劫機正常運轉,使水溫達75弋 以上。停機后,用壓縮空氣吹凈火花 塞或噴油器周圍的灰塵和臟物,然后 卸下全部火花塞(柴油機需拆下噴油 器)并按氣缸次序放置。對于汽油發 動機,還應把高壓線拔下并可靠搭 鐵,以防止電擊和著火。
將氣缸壓力表的橡膠接頭插在 被測缸的火花塞孔內,扶正壓緊。將 節氣門位于全開位置,用起動機轉動 曲軸3~5s,待壓力表頭指針指示并 保持最大壓力后停止轉動。取下氣缸 壓力表,讀取并記下讀數,按下單向 閥使壓力表指針回零。按上述方法依 次測量各缸,每缸測量次數不少于2 次。
就車檢測柴油機氣缸壓力時,應 使用螺紋接頭的氣缸壓力表。如果該 機要求在較高轉速下測量,此種情況 除受檢氣缸外,其佘氣缸均應工作。 其他檢測條件和檢測方法同子汽油 機。
三、氣缸壓力檢測結果分析
1.檢測標準
試驗表明,氣缸壓力的檢測結果 不僅與氣缸的密封性有關,還與曲軸 轉速有密切關系。在曲軸轉速較低 時,較小的轉速差能引起壓縮壓力較 大的變化。當轉速大于150r/min后,壓縮壓力隨轉速的變化量很小。因 此,在測定氣缸壓力時,應使曲軸轉 速大于150r/min,避免轉速偏低對氣 缸壓力測試帶來影響。
氣缸壓縮壓力標準值一般由汽 車制造廠提供。按照GB18565—2001 《營運車輛綜合性能要求和檢驗方 法》的規定,在用汽車發動機各氣缸 壓力應不小于原設計值的85%,每缸 壓力與各缸平均壓力的差:汽油機應 不大子8%,柴油機應不大千10%。
2.檢測結果分析
測得結果如高于原設計規定,可 能是由于燃燒室積碳過多、氣缸襯墊 過薄或缸體與缸蓋結合平面經多次 修理加工過甚造成,這種情況一般較 少出現。測得結果若低于原設計規 定,可向該缸火花塞或噴油器孔內注 入適量機油,然后用氣紅壓力表重測 氣缸壓力,并進行分析:
1)第二次測出的壓力比第一次 高,接近標準壓力,表明氣缸、活塞 環、活塞磨損過大,或活塞環對口、卡 死、斷裂及缸壁拉傷等原因造成氣缸 密封不嚴。
2)第二次測出壓力與第一次略 同,即仍比標準壓力低,表明進、排氣 門或氣缸墊不密封。
3)兩次檢測結果均表明某相鄰 兩缸壓力都相當低,說明兩缸相鄰處 的氣缸墊燒損竄氣。
進一步準確判斷故障部位,采用 如下簡易方法:(以汽油機為例)
1)卸下空氣濾清器,打開散熱器 蓋和加機油口蓋,用1根接壓縮空氣 的膠管通過錐形橡皮頭插在火花塞 孔內。
2)轉動發動機曲軸,使被測氣缸 活塞處于壓縮上止點位置,然后將變 速器掛低擋,拉緊手制動器操縱桿, 打開壓縮空氣(600kPa以上)開關, 注意傾聽漏氣聲。
3)如在進氣口處聽到漏氣聲,說 明進氣門不密封。
4)如在排氣消聲器處聽到漏氣 聲,說明排氣門不密封。
5)如在散熱器加水口處看到有 氣泡或聽到漏氣聲,說明氣缸襯墊不 密封造成氣缸與水套相通。
6)如在相鄰氣缸火花塞口處聽 到漏氣聲,說明氣缸墊在該兩缸之間 處燒損竄氣。
7)如在加機油口處聽到漏氣聲, 說明氣缸活塞配合副不密封。
四、故障實例
故障現象:一輛桑塔納2000GSi轎車,搭載AJR型發動機,行駛里程 為8萬km。該車冷車時發動機工作一 切正常,當水溫升高至正常工作溫度 后,發動機出現怠速不穩、加速無力、 油耗偏高現象。接車后,維修人員首先 向用戶了解此車在故障出現前后是否 有異常情況。據客戶反映,該車在一家 修理廠做過一次常規保養,更換了火 花塞、三濾和機油等易耗品,之后不久 就出現了這種故障現象。
故障診斷與排除:發動機動力不 足的主要原因有節氣門調整不當,不 能全開:空氣濾清器堵塞;燃油壓力 過低;氣缸缺火;點火正時不當或高 壓火花弱;空氣流量傳感器、水溫傳 感器、節氣門位置傳感器故障;噴油 器堵塞或霧化不良;EGR系統工作 不良;氣缸壓縮壓力過低或配氣正時 失準;排氣受阻,在發動機加載時,進 氣歧管真空度明顯偏低等。
維修人員決定先進行常規檢查。 使用解碼器讀取故障碼,發現無故障 代碼。將加速踏板踩到底,節氣門能 夠全開??諝鉃V清器無堵塞情況。用 燃油壓力表測量燃油系統壓力,在正 常范圍內。使用點火正時燈檢查點火 正時,在熱車后的怠速及加速時都符 合要求。拆下各缸火花塞,發現上面 均有少量積碳,于是更換新件,換完 之后試車,故障依舊。接下來用氣缸 壓力表測量發動機各氣缸壓力,發現 3缸壓力明顯偏低,只有600kPa左 右,其余各缸壓力也只有900kPa左右。
發動機出現缸壓偏低的現象,常 見原因主要有氣門關閉不嚴、話塞環 磨損等,需要對發動機解體進行檢 査。拆下氣缸蓋后,發現3缸進氣I ] 有輕微的彎曲變形,活塞上還有與氣 門碰撞頂出的痕跡。正常情況下,活 塞與氣門不會發生碰撞,除非當活塞 由下止點向上止點運動時,氣門由于 回位不及時等原因造成氣門與活塞 相撞。檢查3缸氣門導管、液壓挺柱 均未發現異常,只是各缸氣缸壁上有 輕微的拉傷。因該車水溫一直正常, 由此分析故障原因是更換了劣質機 油。如果機油粘度較低,潤滑油膜容 易破壞,在高溫摩擦表面上不易形成 足夠厚度的油膜,機件得不到正常潤 滑會增大磨損。另外,劣質機油會使 氣缸密封作用下降,氣缸漏氣使得缸 壓下降,同時因發動機功率降低汽車 會出現怠速不穩、加速無力現象。
為什么該車在冷車和熱車時會 出現不同狀況呢?當發動機溫度較低 時,機油比較粘稱1基本上可以滿足 潤滑需要。當發動機溫度升高后,機 油粘度降低,發動機得不到充分潤 滑,致使氣門發卡,氣缸拉傷。
維修技術人員更換了 3缸氣門、 氣門導管和各缸氣門油封后,又更換 了原廠機油。上路行駛200km之后, 客戶感覺發動機工作狀況明顯好轉, 加速、爬坡時汽車功率大增,油耗也 有所降低?;貜S檢測發動機氣缸壓 力,發現3缸壓力增加到750kPa,其 他缸缸壓也有所提高。
五、結束語
氣缸密封性與氣缸體、氣缸蓋、 氣缸墊、活塞、活塞環和進排氣門等 零件的技術狀況以及機油品質有關。 在發動機使用過程中,由于這些零件 磨損、燒蝕、結焦或積碳,導致氣缸密 封性下降,使發動機功率下降,燃油 消耗率增加,使用壽命大大縮短。利 用氣缸壓力表檢測發動機氣缸的壓 縮壓力,可以對發動機的故障原因進 行分析和判斷,特別是對造成氣缸 密封性故障的檢測更為有效。
上一篇:壓力表的正校與反校
下一篇:液氯儲罐壓力表用螺栓斷裂失效分析


